This thread has been locked.

If you have a related question, please click the "Ask a related question" button in the top right corner. The newly created question will be automatically linked to this question.

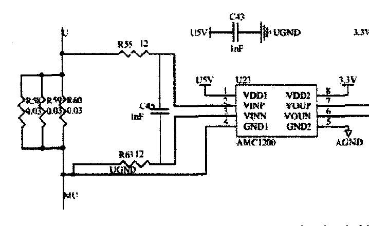
AMC1200的使用问题

Other Parts Discussed in Thread: AMC1200

请问下AMC1200这样连接可以吗,为什么GND1连5V的地端还要连接被测电阻的负端?