Other Parts Discussed in Thread: SN65LVDS93A, SN65LVDS93B
TI公司的cameralink芯片DS90CR287有替代芯片吗?比如更小封装的,更高温度的,287温度只有-10~70°,285速度又慢
This thread has been locked.
If you have a related question, please click the "Ask a related question" button in the top right corner. The newly created question will be automatically linked to this question.
Other Parts Discussed in Thread: SN65LVDS93A, SN65LVDS93B
TI公司的cameralink芯片DS90CR287有替代芯片吗?比如更小封装的,更高温度的,287温度只有-10~70°,285速度又慢
SN65LVDS93A和SN65LVDS93B的区别在于像素时钟频率范围不一样。SN65LVDS93A的频率范围为10Mhz~135Mhz, 而SN65LVDS93B的频率范围为10MHz~85Mhz。
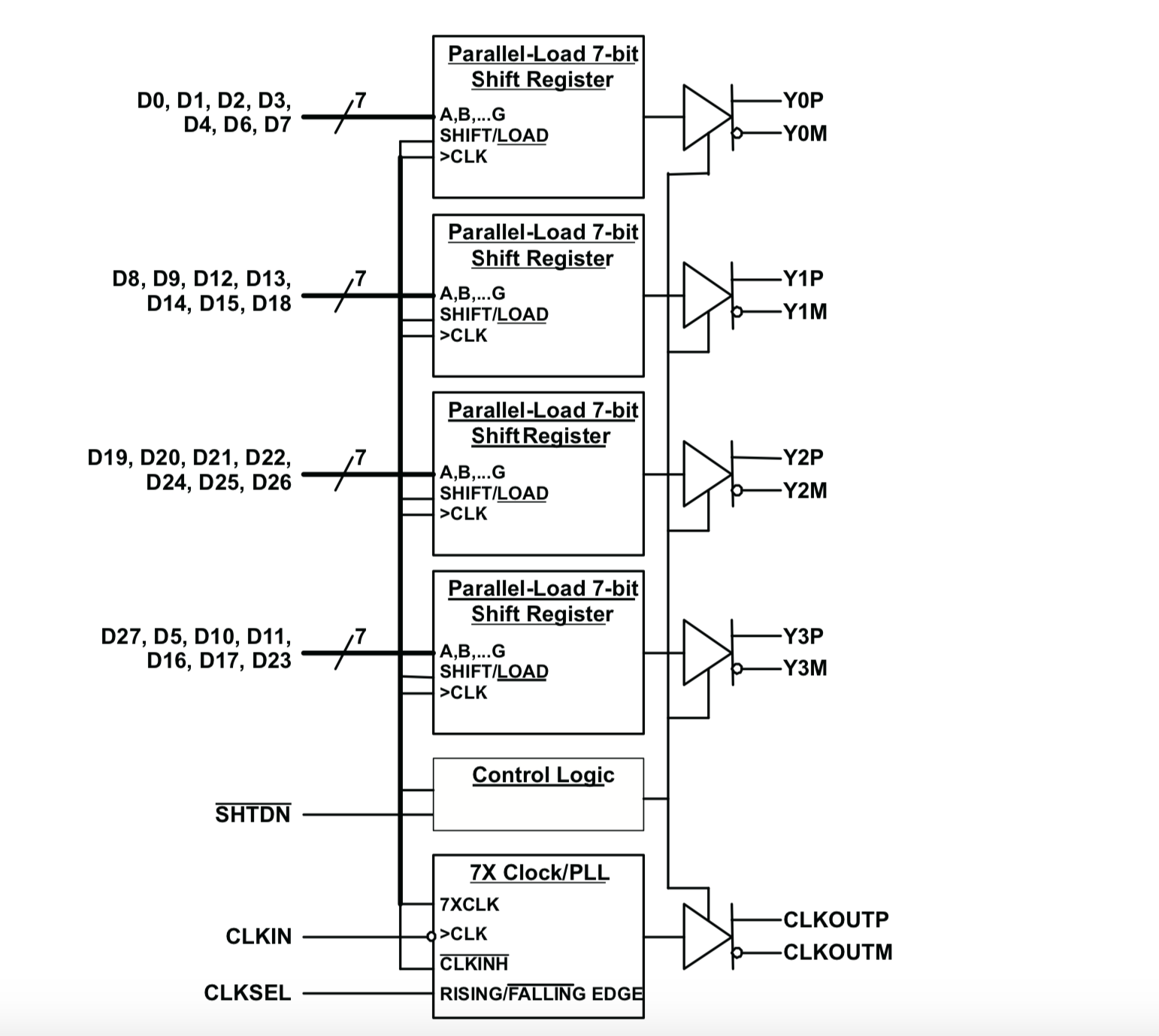
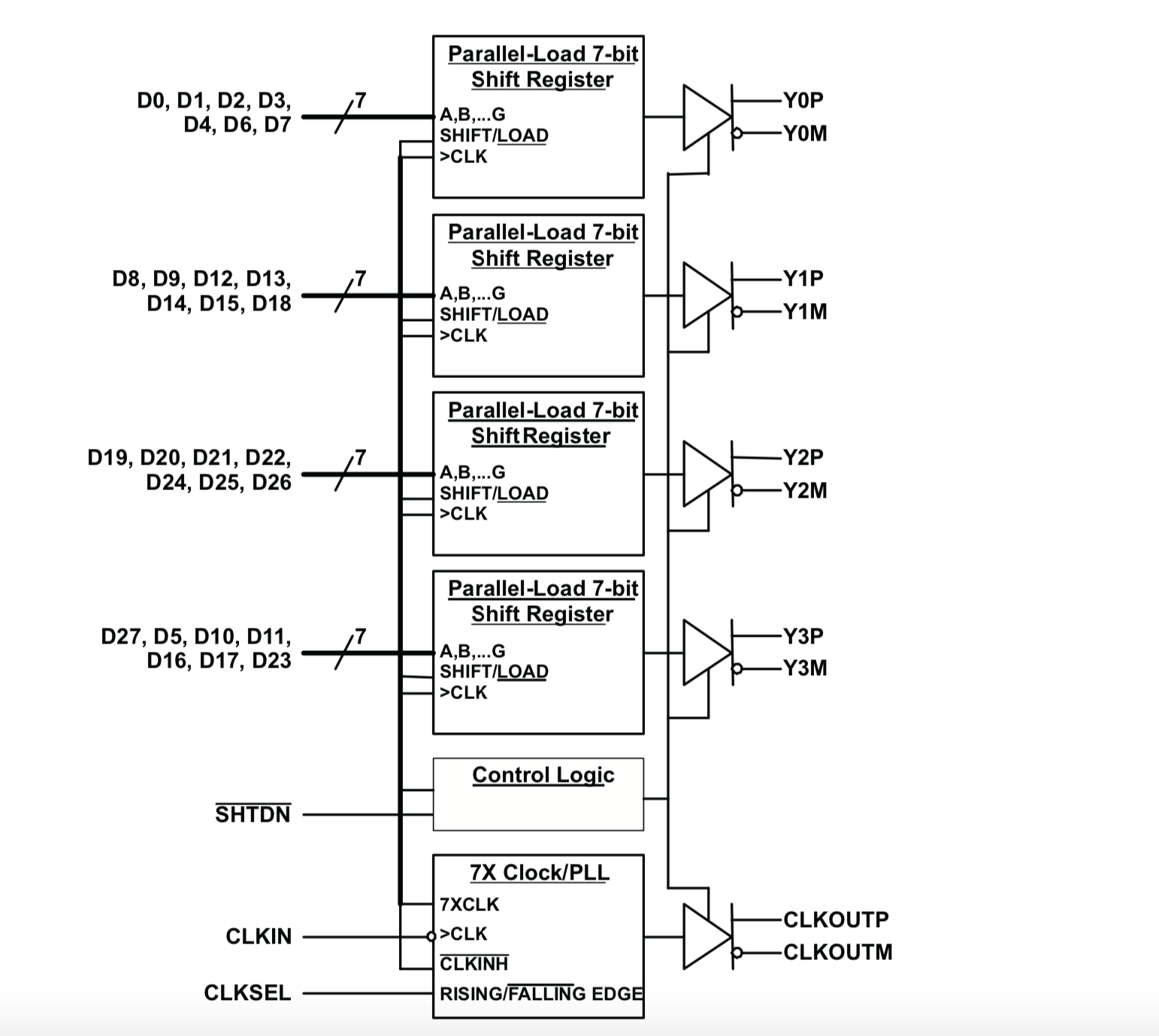
SN65LVDS93A的输出的LVDS是4对data+1对clock,您看下它的框架图: