Other Parts Discussed in Thread: DS90UB926Q-Q1
现在想用DS90UB926Q-Q1芯片对LVDS信号进行解码,解码后输出的信号需要给图像采集卡采集,不知道图像采集卡需要满足采集什么样的信号接口才可以采集926的输出信号
谢谢!
This thread has been locked.
If you have a related question, please click the "Ask a related question" button in the top right corner. The newly created question will be automatically linked to this question.
Other Parts Discussed in Thread: DS90UB926Q-Q1
现在想用DS90UB926Q-Q1芯片对LVDS信号进行解码,解码后输出的信号需要给图像采集卡采集,不知道图像采集卡需要满足采集什么样的信号接口才可以采集926的输出信号
谢谢!
Abel Wu,您好
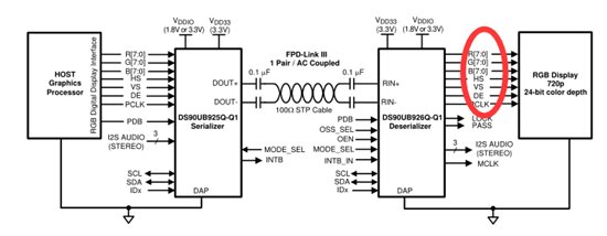
只要图像采集卡支持RGB888输入接口,即可采集926输出的信号。
谢谢!
Kevin Zhang