This thread has been locked.

If you have a related question, please click the "Ask a related question" button in the top right corner. The newly created question will be automatically linked to this question.

[参考译文] OPA2192-Q1:轨到轨输入

Guru**** 2386620 points
Other Parts Discussed in Thread: OPA2192-Q1
请注意,本文内容源自机器翻译,可能存在语法或其它翻译错误,仅供参考。如需获取准确内容,请参阅链接中的英语原文或自行翻译。

https://e2e.ti.com/support/amplifiers-group/amplifiers/f/amplifiers-forum/708908/opa2192-q1-rail-to-rail-input

器件型号:OPA2192-Q1

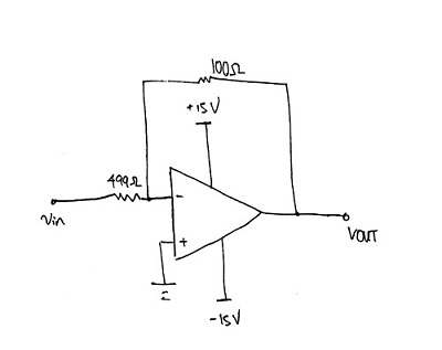
我计划使用 OPA2192-Q1运算放大器通过简单的反相配置来降低输入电压(请参阅下图)。 我期望的最大输入电压为30V、这样最大输出将为30 *(-100/499)=-6.01V、这在电源轨内。  我已读取轨到轨输入/输出、这意味着输入和输出电压不能超过电源电压+15V 和-15V。 但是、在反相运算放大器中、反相输入的电压与同相输入的电压相同、同相输入是虚拟接地。  我只是对能否发送30V 的输入电压感到困惑、因为运算放大器的实际输入是虚拟接地、还是30V 的输入电压也受电源电压的限制?

  • 请注意,本文内容源自机器翻译,可能存在语法或其它翻译错误,仅供参考。如需获取准确内容,请参阅链接中的英语原文或自行翻译。

    尊敬的 Angela:

    为什么不这样做:

    Kai

  • 请注意,本文内容源自机器翻译,可能存在语法或其它翻译错误,仅供参考。如需获取准确内容,请参阅链接中的英语原文或自行翻译。
    尊敬的 Kai:

    感谢您的建议。 请确认我对您电路的理解是否正确:
    运算放大器的方程式由 Vout = 2.25*Vin/12.25给出,因此增益不再反相。
    此外、反相和非反相输入都限制为电源轨内的 Vout、因此我的 Vin 可以是15 * 12.25/2.25 = 81.7V 以下的任何电压? (只要我的输出电压处于15V 之内)

    我还想知道运算放大器为什么通常使用很大的电阻? 我想使用 A/D 来测量 Vout、这样我就希望它尽可能准确。 我认为、使用具有小容差(0.01%)的较小电阻比使用大电阻更好(因为其误差更大)。 我是否仍然可以使用100和499欧姆电阻器、或者这会带来问题? 谢谢!
  • 请注意,本文内容源自机器翻译,可能存在语法或其它翻译错误,仅供参考。如需获取准确内容,请参阅链接中的英语原文或自行翻译。

    尊敬的 Angela:

    如果 R1 = 10k 且 R2 = 2.5k、则 Vout = 2.5k x Vin / 12.5k。 是的、增益不再反相。 是的、最高可将12.5k / 2.5k x 15V = 75V 的电压施加到输入端。

    运算放大器的反馈电阻器通常在1k...10k 范围内(甚至更高)、因为运算放大器的输出级必须能够通过反馈电阻器灌入和拉取信号电流。 为了将失真、热耗散和电流消耗保持在最低水平、应该将反馈和负载电流保持在相当小的水平。

    最大精度和最小长期漂移通常在10k Ω 电阻器中找到、具体取决于实际品牌。 必须将电阻器温度保持在40°C 以下、以实现最佳的长期漂移。 同样、较高的电阻值有助于保持较低的热耗散。

    Kai

  • 请注意,本文内容源自机器翻译,可能存在语法或其它翻译错误,仅供参考。如需获取准确内容,请参阅链接中的英语原文或自行翻译。

    哎呀、我把2.5k 误读为2.25k。
    我刚才进行了简单的计算、结果是、即使最大误差容差为0.005%、结果也与我最初想要使用的低电阻值一样准确。 非常感谢您的建议;我将在下一个 PCB 设计中使用它们:D

    P.S.如何撤消此操作解决了我的问题? 我错误点击并将其发布到我自己的帖子中。