This thread has been locked.

If you have a related question, please click the "Ask a related question" button in the top right corner. The newly created question will be automatically linked to this question.

[参考译文] OPA548:2倍电流升压电路

Guru**** 2536270 points
Other Parts Discussed in Thread: OPA541, OPA593, TPSM63610, OPA549, OPA548

请注意,本文内容源自机器翻译,可能存在语法或其它翻译错误,仅供参考。如需获取准确内容,请参阅链接中的英语原文或自行翻译。

https://e2e.ti.com/support/amplifiers-group/amplifiers/f/amplifiers-forum/1470423/opa548-2x-current-boost-circuit

器件型号:OPA548
主题中讨论的其他器件:TPSM63610OPA549、OPA541、OPA593

工具与软件:

您好!

我们的客户目前正在恒流电路中使用 OPA548T 来驱动 LD。

现在、他们需要设计一个新的5A 恒定电流电路、并考虑将此电路的输出并联以使电流加倍。

是否有任何可用作参考的应用手册?

现有电路也使用大型散热器进行冷却。

如果并联使用放大器使电流加倍时遇到任何问题、您能给我们提供一些建议吗?

此致、
Hiroshi

  • 请注意,本文内容源自机器翻译,可能存在语法或其它翻译错误,仅供参考。如需获取准确内容,请参阅链接中的英语原文或自行翻译。


    在与客户核实详细信息后、他们告诉我、他们计划最终将 TPSM63610和 OPAMP 组合在一起、以配置 CV/CC 电路。

    因此、这个并联连接仅用于测试新的 LD。

    我想、如果输出通过一个串联电阻器连接、可能就没有问题、但如果您有任何问题、请告诉我。

  • 请注意,本文内容源自机器翻译,可能存在语法或其它翻译错误,仅供参考。如需获取准确内容,请参阅链接中的英语原文或自行翻译。

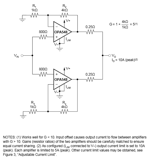
    图36显示了一个示例:

    或者、将第二放大器配置为第一个输出端的电压跟随器(这仍然需要串联电阻器)。

  • 请注意,本文内容源自机器翻译,可能存在语法或其它翻译错误,仅供参考。如需获取准确内容,请参阅链接中的英语原文或自行翻译。

    您好、Hiroshi-San

    请使用所含的 Clemens 图。 这是实现并联功率放大器的正确方法之一。 该特定电路的缺点之一是、我们的输入(Vin)设置运算放大器的 Vout、而不是负载的输出电压。 我们可以轻松更改该值以补偿负载上的电压。  

    请注意、并联放大器始终具有强制在平衡电阻器上实现功率下降的固有缺点(如上方0.25 Ω)。 此外、在某些情况下、由于平衡电阻器不够稳定或过小、一个放大器可能会相互对抗。  

    在大多数情况下、我发现使用功率更高的放大器更容易、但肯定可以并联 OPA548。 如果客户想要升级到电流更高的驱动放大器、OPA541或 OPA549可达到这个目的。  

     ×阅读本应用简报、其中涵盖了功率放大器的并联连接:并联 OPA593高电压、高电流运算放大器以实现2 μ A 输出电流

    OPA593器件过于薄弱、无法实现所需的5A、但原理和并联设计注意事项适用于 OPA548等较大功率放大器。  

    如果我正在设计电路、我很可能会走一段很简单的路、就可以使用 OPA549来实现这个功能。 如果无法鉴定新器件、也可以采用并联设计。  

    如果客户愿意、我很乐意为他们创建一个仿真。 我只需要恒流源(假设这是一个可调电流源)、应用中使用的电源电压的传递函数以及现有电路设计中的任何其他细节。  

    如果您有任何问题、敬请告知。  

    此致!

    Jacob

  • 请注意,本文内容源自机器翻译,可能存在语法或其它翻译错误,仅供参考。如需获取准确内容,请参阅链接中的英语原文或自行翻译。

    克莱门斯-圣、雅各布-圣、

    感谢您的详细回答。
    很抱歉在未查看 D/S 电路示例的情况下提出了问题。

    此客户正在将许多 OPA548T 用作其现有系统中 LD 光源的驱动器。
    单个 PCB 上安装了多个 OPA548T、因此散热器也很大。

    新设计需要更高的电流。
    他们将首先使用2xBoost 电路评估 LD。
    但是、由于这会产生更多热量、因此它们还将评估并联直流/直流(TPSM63610)+ OPAMP 组合的 CV/CC 电路。
    如果这样不起作用、他们还将考虑 OPA549。

    此致、
    Hiroshi




  • 请注意,本文内容源自机器翻译,可能存在语法或其它翻译错误,仅供参考。如需获取准确内容,请参阅链接中的英语原文或自行翻译。

    感谢您支持此客户 Hiroshi-San。  

    如果您需要我们的其他支持、请告知我们。  

    谢谢!

    Jacob