“线程: 测试”中讨论的其它部件
我设计的 PCA 只有一个晶体进入 XT1,认为我可以驱动 USB PLL (或在 MCLK 或其他系统时钟的内部)。 我们在产品内部使用 USB 在 PCA 之间进行通信,因此接口的确切频率和可靠性并不像将长电缆连接到多种不同类型的设备那样重要。
我意识到在 XT2上使用晶体作为 USB PLL 是典型的,但似乎有一些来自 XT1的路径。 当我查看《用户指南》第1121页时:
https://www.ti.com/lit/ug/slau208q/slau208q.pdf?ts=1642642037958
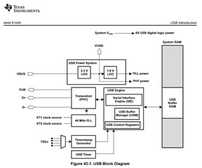
图42-1表示“XT1时钟源”和“XT2时钟源”均导入到 USB 的“48 MHz PLL”中。

下一页显示“USB 引擎需要准确的48 MHz 时钟... 这是由来自其中一个系统振荡器(XT1或 XT2)的 PLL 生成的。”
这表明我有自己的选择,但我担心的是,这条评论并不意味着我有自己的选择,而是取决于具体的设备。 遗憾的是,我在用于 USB 时钟的 MSP430F6636数据表中没有看到太多细节。
另一个我可以选择的指标是在另一个网站上的《程序员指南》中:
http://nic.vajn.icu/PDF/TexasInstruments/MSP430/usblib430/Programrs_Guide_MSP430_USB_API.pdf
其中,在第181页的“附录 A 配置常数”中,它表示常量“USB_PLL_XT...”选择用于为 PLL 提供源的高速振荡器。 它的值必须为
1 (用于 XT1)或2 (用于 XT2)。 当前所有 MSP430 USB 设备都使用 XT2。”
电流如何为“电流”? 我们刚在2021年购买的 MSP430F6636是否具有此功能,或者是否不再有从 XT1到 USB 的物理多路传输?
我确实意识到,默认和示例固件都尝试使用 XT2,但如果我可以避免转动主板来添加晶体,并只更改固件,那就更好了。 或至少是临时解决方案。
请提前感谢您的参与。
——圣地亚哥的凯文。