看到一篇谈DCDC控制技术的文献,觉得非常好,请求关于TI DCDC软启动技术的文献,谢谢
This thread has been locked.
If you have a related question, please click the "Ask a related question" button in the top right corner. The newly created question will be automatically linked to this question.
Hi
似乎没有看到TI单独出软起动控制的技术文档,建议你直接针对芯片留意datasheet中的描述。
软起动一般芯片自带,通过外部电容控制启动时间,也可以通过外部电路增加软起动延时:
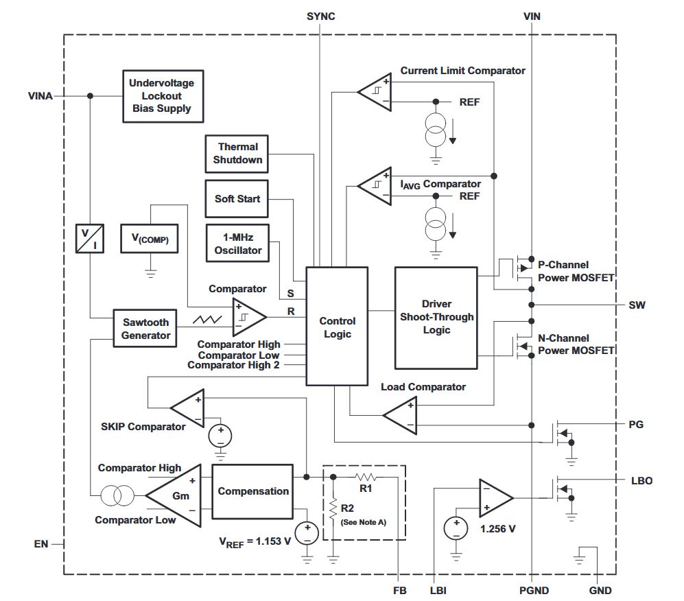
你可以看下这个芯片数据手册的第18页,应该能解释下软启
谢谢回复,对您说的“把SS 放在补偿之后的,所以从0开始增加一个电平即可实现逻辑”不太理解
谢谢,Frank3关于软启动还有些不清楚,请教:比较器给出不同的参考,与PMOS功率开关管取样比较,到后面的数字电路,后面数字电路怎样工作的?