
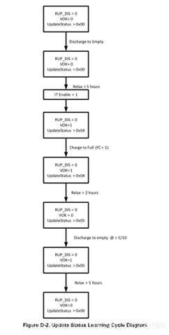
1. 按如上流程,放空静止等待 IT ENABLE=1 之后,VOK 不能到1.反复充满放空,VOK都不会等于1.
2. 然后是否温度会影响整个系统学习, 矫正温度,一直无法正常矫正。

This thread has been locked.
If you have a related question, please click the "Ask a related question" button in the top right corner. The newly created question will be automatically linked to this question.

1. 按如上流程,放空静止等待 IT ENABLE=1 之后,VOK 不能到1.反复充满放空,VOK都不会等于1.
2. 然后是否温度会影响整个系统学习, 矫正温度,一直无法正常矫正。

您好,学习是请确认IT ENABLE 是否使能,请参考TRM 2.1.1.15IT ENABLE:0x0021
学习请参考文档Achieving The Successful Learning Cycle
温度校正请确认internal temp的温度是多少, 即板子上NTC对应的温度.