现有一个内阻是250欧姆,空载时测试输出类似正弦波,峰峰值是16V-20V的微型发电机,需要存储在一个超级电容内(内阻是80欧姆),电压为3.3V 一下,开始考虑用射极跟随器原理串通型直流电源,连接上超级电容后实际电压值减少,后来考虑使用DC/DC的方式输出电压,在输出置空的情况下OK,接上负载后输出减少?
求一个简易的方案达到以上的要求,谢谢!
This thread has been locked.
If you have a related question, please click the "Ask a related question" button in the top right corner. The newly created question will be automatically linked to this question.
类似附件中的专利所示,自制了一个微型的发动机,后续考虑作为独立电源使用--可以为外界直接提供能量。
存储的介质选择了超级电容(容量是0.25F)--如12所示,开始考虑采用图片中的方式不能控制电压的峰值,因此使用一种用射极跟随器原理的方式来设计另外 一种方式的电路,但是实际情况是输出电压值随着负载变化--实际上考虑是达到3V左右,由于尺寸的限制,电路务必简单易行?不知道有其他的方案?

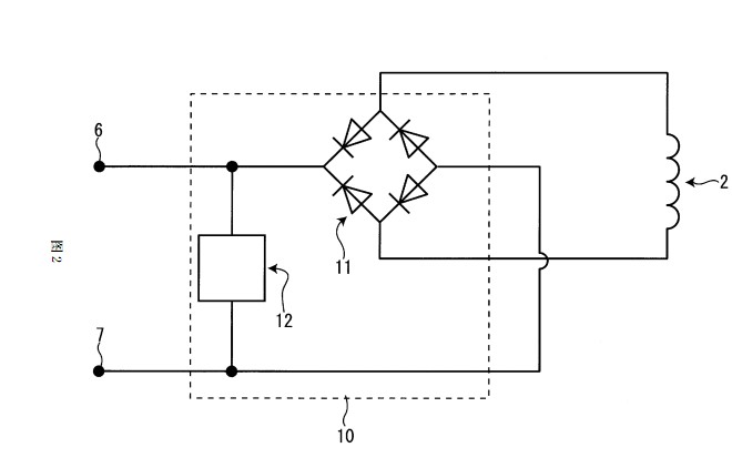
图中C4使用的7.5mF 的超级电容,实际上的内阻是25欧姆,如更换成0.25F的超级电容,内阻是80欧姆;
Vin 发电机的参数是内阻是250欧姆,空载时测试输出类似正弦波,空载时测试峰峰值是16V-20V的微型发电机;
在线等待回复,谢谢!
你这发电机短路电流有多大?整流滤波后可以考虑加一级高效率的DC-DC降压,比你的用三极管做的线性稳压效率要高,比如TPS62120转成5V,后面再加bq25504能量收集专用芯片,给超级电容充电。
短路电流应该是1mA附近,使用DC直流负载测试模组,CC状态下:1、I=0.001A, U=2V-4V;2、0.002A,U=1V-2.5V;
3、I= 0.003A,0.5V-1.5V,应该属于微能量的范畴,考虑使用bq25570,之际充电到超级电容,或是bq25505,就是目前超级电容的内阻会影响电压的输出,
不知道你有什么建议?
考虑隔断性充电方式,这样的输出对负载没有影响……
你可以试一下bq25570,在输入低至100mV时仍可进行能量采集。
单单看你的输入电压和输出电压,很多都能做到;
如TI的LM25010,LM2734Y
我会尽快找一下bq 25570的资料看看,是否合适现在的应用?
我会尽快查询一下推荐的IC,是否适合目前的情况使用,谢谢!