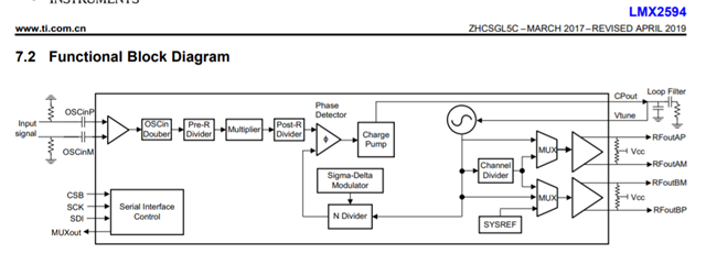
想问下RFoutA跟RFoutB是什么关系?B可以配置成A的完全一样的copy吗?第一次看芯片手册没看明白

This thread has been locked.
If you have a related question, please click the "Ask a related question" button in the top right corner. The newly created question will be automatically linked to this question.