This thread has been locked.
If you have a related question, please click the "Ask a related question" button in the top right corner. The newly created question will be automatically linked to this question.
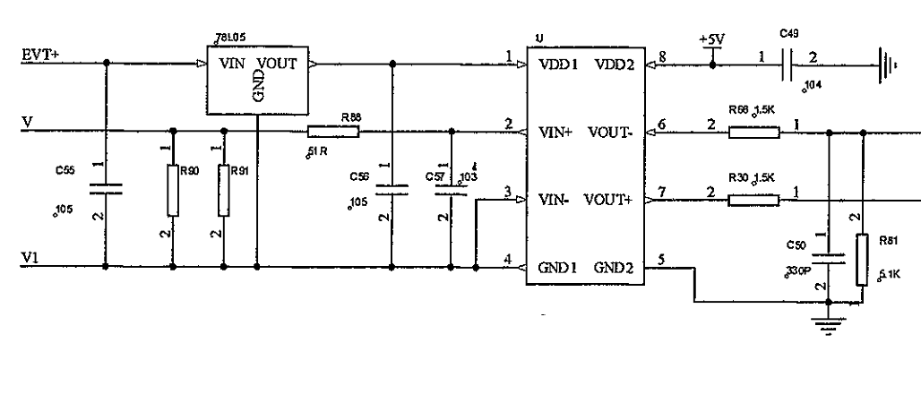
AMC1200,取样电路是不是可以不要差分?可以不可以如图接。
你好!
可以的,
您好!
我选用AMC1200采集分流器(300A,75mV)两端的电压,但是在零点时,VINP和VINN两端为0mV,输出端VOUTP和VOUTN就有约26mV的电压,电路是按手册给的参考电路,请问出现这种现象的原因是什么?谢谢!
请问你用什么表测试的输入端电压。根据你的描述,应该是输入端有3mV左右的电压。推荐用位数高一些的万用测试差分输入电压。
AMC1200本身的offset电压最大值为1.5mV. 增益8倍,输出最磊为12mV.