TI专家,您好:
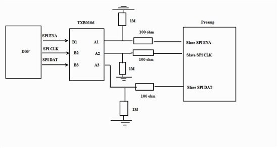
我在使用电平转换器出现了一个问题。使用的型号是TI的双向电平转换器TXB0106。如图所示,VCCA及VCCB电压相等,都使用3.3V。其中
B1为SPI通信的使能信号ENA,
B2为SPI通信的时钟信号CLK,
B3为SPI通信的数据信号DAT,
B4~B6为GPIO信号。
A1~A6后面都串接一个0欧姆电阻以供调试,SPI通信速度为25M。做SPI通信的时候,发现通信有问题。后来用示波器观察了波形~
SPI时钟信号输入端B2是一个比较标准的方波(没存图片),下图是SPI时钟信号CLK输出A2端的波形,A2端串接电阻为100欧姆。如果A2串接电阻为0欧姆,该波形会更差。初步分析是信号存在反射。我今天试了好多个电阻,都不能得到好的波形,基本都像下图这样的。所以想请TI专家们帮忙,请提供一个好的建议来解决这个波形质量问题。谢谢!


