This thread has been locked.

If you have a related question, please click the "Ask a related question" button in the top right corner. The newly created question will be automatically linked to this question.

[参考译文] INA826:输出减半后的运算放大器电压?

Guru**** 2535750 points
Other Parts Discussed in Thread: INA826, OPA2187

请注意,本文内容源自机器翻译,可能存在语法或其它翻译错误,仅供参考。如需获取准确内容,请参阅链接中的英语原文或自行翻译。

https://e2e.ti.com/support/amplifiers-group/amplifiers/f/amplifiers-forum/881485/ina826-op-amp-voltage-following-cuts-output-in-half

器件型号:INA826
主题中讨论的其他器件: OPA2187

我们在设计中将多个 INA826AIDGKR 用作电压跟随器。 测试电路后、我们确定输出电压始终意外地为½我们的输入电压

根据下面的数据表功能方框图、我们现在意识到-VIN (引脚1)可能需要连接到 GND 而不是输出(引脚7)。 24.7kΩ、我们认为连接到输入端的输出不会使反馈电阻为零、因为反馈电阻在内部提供给每个运算放大器 A1和 A2 (k Ω)。

目前、R39未组装、因此 PIN2和 Pin3悬空。 然而、当在这个运算放大器上运行 TINA 仿真时、我们发现在 RG 引脚上添加一个0Ω Ω 电阻器(R39)使得我们的电路能够作为一个单位增益缓冲器正确运行、并且完全匹配了电压。

2个问题:

1) 1)在 RG 上添加0欧姆电阻器是否会实际解决此问题? 是否会产生其他影响?

2) 2)如果不是,您是否推荐使用其他插接式运算放大器而不是此仪表放大器?

  • 请注意,本文内容源自机器翻译,可能存在语法或其它翻译错误,仅供参考。如需获取准确内容,请参阅链接中的英语原文或自行翻译。

    您好、Scott、  

    我在其他查询中也有类似的评论、请参阅随附的 Tina 仿真。  

    对于单电压轨、最小 V-=3V

    2.如果您想将 V-in 接地、则必须连接 V-=-3V、因为 VCM 必须高于 V-轨。 如果 V-= 3V、则 V-in 必须至少为3V。  

    3.短 RG 电阻器将不起作用,您将获得无限增益。 我配置的增益= 2。 保持断开、增益= 1。 在仿真中尝试一下。  

    4.如果您向我们提供设计要求和应用、我会为您找到一款运算放大器。  

    e2e.ti.com/.../INA826-Circuit2-02182020.TSC

    最棒的

    Raymond

  • 请注意,本文内容源自机器翻译,可能存在语法或其它翻译错误,仅供参考。如需获取准确内容,请参阅链接中的英语原文或自行翻译。

     Raymond、我们在您的仿真中尝试了无限增益。 当我们仿真 RG 引脚上的短路并在 Vout (PIN7)和-in (Pin1)之间添加反馈时、我们看到输出电压根据需要跟随输入电压(增益为1)

    下面是仿真

    这是否适用于应用? 如果不是、替代单位增益电压跟随器的直接替代产品是否有下降? 此原理图遵循另一个论坛帖子中的一个原理图向下流、因此此时我们将处理0-10V 信号、并使用该放大器进行一些阻抗匹配。

    /cfs-file/__key/communityserver-discussions-components-files/14/INA826-Circuit2-02182020c.TSC

  • 请注意,本文内容源自机器翻译,可能存在语法或其它翻译错误,仅供参考。如需获取准确内容,请参阅链接中的英语原文或自行翻译。

    您好、Scott、  

    我们需要提升基准端子 PIN6、请参阅附加的仿真。 现在、V-为 GND、Vref=10V、输入为10Vpp、输出为10V-20V。 请告诉我这是否适合您。  

    使用引脚6上的基准输入、输入要求为(V-)至(V+)、请参阅所附的图像。  

    e2e.ti.com/.../INA826-Circuit2-02192020c.TSC

    最棒的

    Raymond

  • 请注意,本文内容源自机器翻译,可能存在语法或其它翻译错误,仅供参考。如需获取准确内容,请参阅链接中的英语原文或自行翻译。

    您声称、在 RG 引脚上添加一个0Ω Ω 电阻器可使您的电路作为一个单位增益缓冲器正常运行、完全匹配电压、但您需要查看输入波形而不是输出。  如果 Rg 为0欧姆、则会产生极高的增益、迫使输出降低其电源轨-请参阅下面的内容。

  • 请注意,本文内容源自机器翻译,可能存在语法或其它翻译错误,仅供参考。如需获取准确内容,请参阅链接中的英语原文或自行翻译。

    啊。 我们的硬件设置是将-IN (引脚1)连接到输出(引脚7),而不是 GND。 这就是我们让响应仿真作为输出的单位缓冲器的方式。 我更新了您的仿真、添加了此反馈路径。 这种仿真是否会在实际中用作单位缓冲器、其输出电压复制输入电压?

    如果这在实践中不起作用、是否有另一个器件可作为当前硬件设置的直接替代产品?

    谢谢你

     /cfs-file/__key/communityserver-discussions-components-files/14/INA826-0ohm-Circuit2-02192020c.TSC

  • 请注意,本文内容源自机器翻译,可能存在语法或其它翻译错误,仅供参考。如需获取准确内容,请参阅链接中的英语原文或自行翻译。

    您好、Scott、

    虽然第一个电路是稳定的、

    第二个电路不是:

    e2e.ti.com/.../scott_5F00_ina826.TSC

    在使用仪表放大器时、您不能使用此类反馈。 它的设计并非如此。 这种情况不起作用的原因是 INA826中差分放大器 A3的附加信号传播延迟会导致相位裕度减小。

    您将需要为电压跟随器电路采用单个 OPAMP。

    Kai

  • 请注意,本文内容源自机器翻译,可能存在语法或其它翻译错误,仅供参考。如需获取准确内容,请参阅链接中的英语原文或自行翻译。

    明白。 感谢您的解释和示例。  

    TI 是否提供与 INA826引脚相同的任何通用运算放大器(非仪表)? 以便我们可以在当前设计中使用通用运算放大器?

    Scott

  • 请注意,本文内容源自机器翻译,可能存在语法或其它翻译错误,仅供参考。如需获取准确内容,请参阅链接中的英语原文或自行翻译。

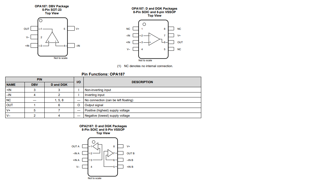
    INA826使用8个引脚、而运算放大器仅使用5个引脚、因此其中两个不可能具有相同的引脚分配-请参阅下文。

  • 请注意,本文内容源自机器翻译,可能存在语法或其它翻译错误,仅供参考。如需获取准确内容,请参阅链接中的英语原文或自行翻译。

    您好、Scott、

    请查看采用双封装的 OPA2187。 您也 可以使用 D 和 DGK 封装、单路运算放大器、但该封装具有8引脚。 但是、它不具有引脚对引脚兼容性。 请查看数据表底部的 IC 尺寸。  

    大多数性能规格与 INA826相当、但 GBW 仅为550kHz。 请告诉我这是否对您有效。  

    最棒的

    Raymond

  • 请注意,本文内容源自机器翻译,可能存在语法或其它翻译错误,仅供参考。如需获取准确内容,请参阅链接中的英语原文或自行翻译。

    您好、Scott、

    我将关闭此查询。 如果您有其他问题、请继续在此主题上发帖或打开新主题。  

    最棒的

    Raymond