您好、TI 论坛、
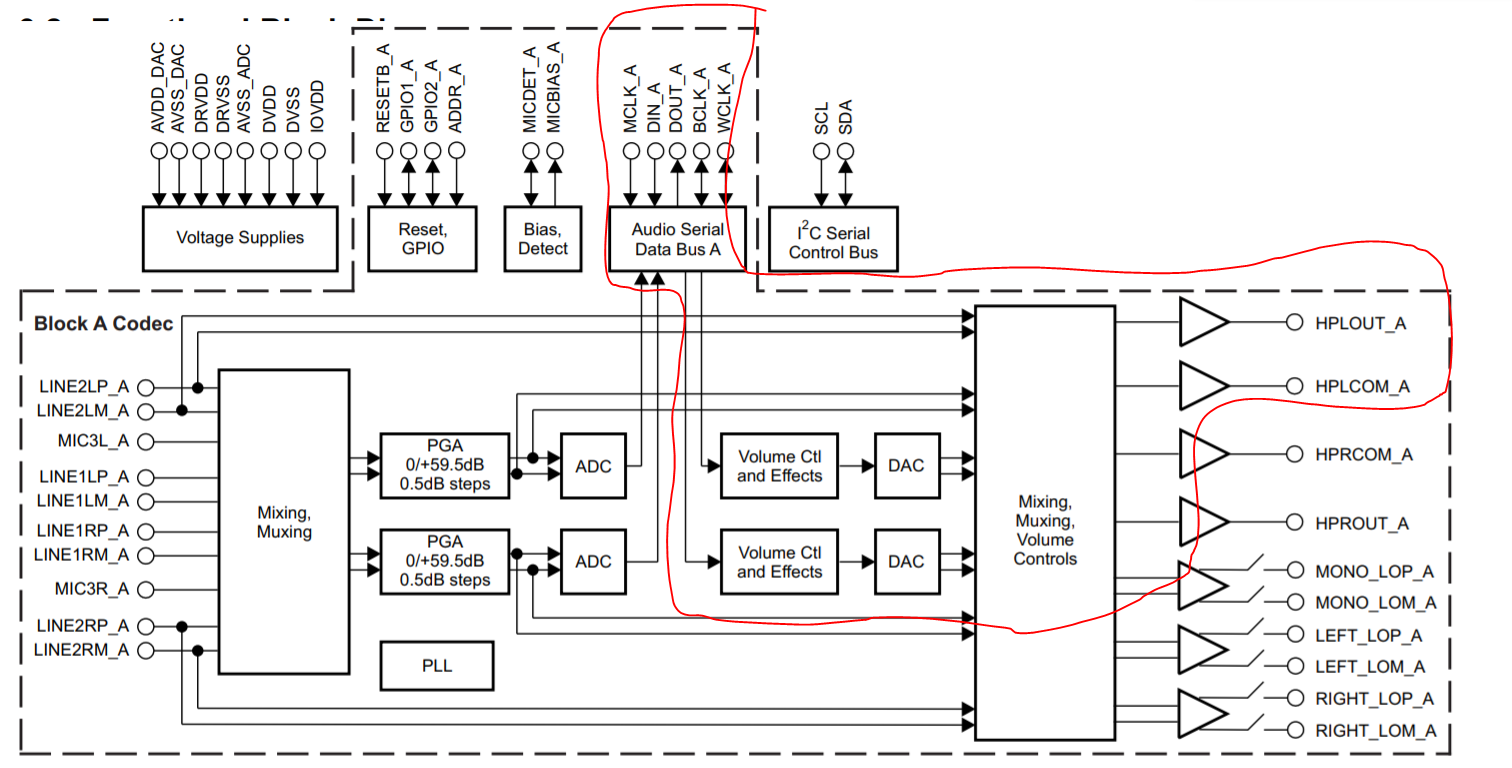
我想通过 DAC 传递 I2S 数据、并通过 HPLOT_A 和 HPLOC_A 端口输出。 到目前为止、我一直在写入寄存器:
## reg 37:为 DAC 加电
i2cset -y 1 0x18 0x25 0xC0
## reg 7:启用 DAC
i2cset -y 1 0x18 0x07 0x0A
## reg 47:将 DAC_L1路由到 HPLOUT
i2cset -y 1 0x18 0x2F 0x80
## reg 50:将 DAC_R1路由到 HPLOUT
i2cset -y 1 0x18 0x32 0x80
## reg 54:DAC_L1到 HPLCOM
i2cset -y 1 0x18 0x36 0x80
## reg 57:DAC_R1至 HPLCOM
i2cset -y 1 0x18 0x39 0x80
## reg 51:HPLOT_x 输出电平控制寄存器
i2cset -y 1 0x18 0x33 0x99
## reg 58:HPLCOM_x 输出电平控制寄存器
i2cset -y 1 0x18 0x3A 0x99
有人能建议我缺少哪些寄存器/更改输出声音吗?
谢谢你。