您好!
我有一名工程师在 TMS320F28377SPZPT 上遇到一些故障、导致电路板短路(更改器件将修复)-他们担心发生什么、想要 FA、但这些器件来自一个复杂的路径。 是否有办法完成 FA?
有关更多背景信息:
直接由工程师完成:
我们最近运行了6个原型板、每个板都包含一个 TMS320F28377SPZPT。 每个电路板都已成功加电并测试;DSP 已编程、一切看起来都正常。 然而、当我进行一些额外的测试时、我发现2个电路板没有正确加电、我似乎已经将问题准确指出了 DSP 芯片- VDD (1.2V)和 VDDIO (3.3V)都存在接地短路。 希望你能帮助我找出这个问题的根本原因。
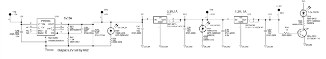
这是我们的原理图的一部分。 通过删除 E15和 E16、我发现 DCOM (GND)短路仍然存在 VDDIO 和 VDD。 3.3V 和1.2V 电源的输出不再短接至 GND。 有可能0.1 μ F 电容器中的一个短路、其中一个2.2uF 电容器短路、但我猜这种可能性不及 DSP 芯片本身出现问题的可能性。 我们明天要更改 DSP 芯片、看看短路是否消失、这将验证我的猜测。
我拍了一下电路板的加电情况(黄色=VDDIO、蓝色 VDD)、然后附上它的附件。 我认为它看起来很好–VDDIO 绝不低于 VDD。
电源电路。

其他信息:
- DSP 部件运行很酷–我们真的不需要为它们征税。 在这种情况下、这些器件都不会很热、也不会暴露在正常室温之外的任何温度下。
- 我在2020年购买了这些器件、在这些器件安装到这些板上之前、这些器件是位于我们研发环境中的原始容器中。
Question:
- 器件是否具有一定的货架期?
- DSP 芯片的接地连接是其散热垫。 如果由于某种原因在组装过程中未正确加热、则焊盘未接地会发生什么情况?



