This thread has been locked.

If you have a related question, please click the "Ask a related question" button in the top right corner. The newly created question will be automatically linked to this question.

[参考译文] LSF0108:TXS 和 LSF 之间有何区别?

Guru**** 2550900 points
Other Parts Discussed in Thread: LSF0108, TXS0108E

请注意,本文内容源自机器翻译,可能存在语法或其它翻译错误,仅供参考。如需获取准确内容,请参阅链接中的英语原文或自行翻译。

https://e2e.ti.com/support/logic-group/logic/f/logic-forum/943793/lsf0108-what-s-the-difference-between-txs-and-lsf

器件型号:LSF0108
主题中讨论的其他器件: TXS0108E

大家好、

我的客户希望了解如何 选择 电平位移 产品。

  TXS 和 LSF 之间的区别是什么?

例如 TXS0108和 LSF0108。

谢谢。

  • 请注意,本文内容源自机器翻译,可能存在语法或其它翻译错误,仅供参考。如需获取准确内容,请参阅链接中的英语原文或自行翻译。

    您好、Frank、

    有许多不同之处。 简而言之、TXS 是一款更高级的转换器、其基本概念与 LSF 相同。

    下面是一个快速的细分信息:

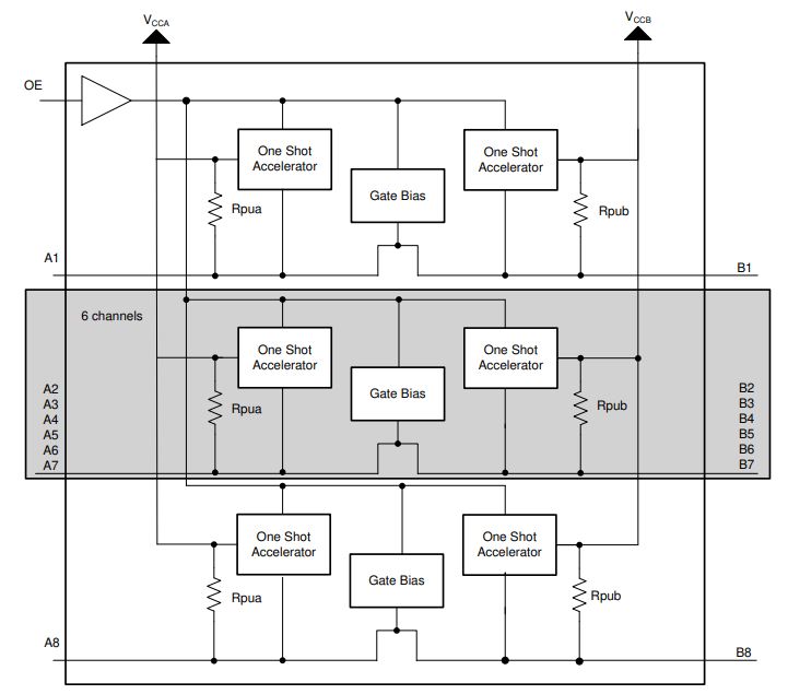
    规格 LSF0108 TXS0108E
    功能方框图
    转换类型 无源自动双向 无源自动双向+单触发边沿加速器+内部上拉+有源控制逻辑
    ESD 保护 仅限器件级

    A 侧和控制端口上的器件级

    B 侧的系统级

    最小转换电压 1.0V 1.4V
    最大转换电压 5V 5.5V
    支持开漏 是的 是的
    支持推挽 是的 是的
    难以设计
    负载电容最大限制 取决于所需的数据速率-建议使用70pF。 70pF
    需要外部上拉电阻器 是的
    支持外部下拉电阻器