请注意,本文内容源自机器翻译,可能存在语法或其它翻译错误,仅供参考。如需获取准确内容,请参阅链接中的英语原文或自行翻译。
器件型号:DRV8305-Q1 主题中讨论的其他器件: DRV8305
工具/软件:
尊敬的 TI 团队:
我有一个关于 DRV8305-Q1栅极驱动器 IC 中电荷泵运行的基本问题。 在我的应用中、驱动器的 PVDD 输入电压直接来自18V 至36V 范围的电池包。 该输入不受调节、可能会随着电池放电而变化。 我知道 PVDD 可以支持宽范围(4.5V 至45Vabs_max)、我的 H 桥逆变器(由 DRV8305-Q1驱动)设计为在此电池范围内运行。
不过、我对于这种 PVDD 波动如何影响电荷泵和栅极驱动功能有一些疑问:
- 由于高侧栅极驱动器由通过电荷泵添加到 PVDD 的内部 LDO (10V)供电(即 VCHP≈PVDD + 10V)、PVDD 波动是否会随着时间的推移导致栅极驱动或电荷泵出现任何功能问题?
-
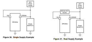
如果我选择使用电池供电的12V 降压转换器来调节 PVDD、则 PVDD 会固定为12V。 在这种情况下:
- VCHP 将限制为~22V (12V +内部10V LDO)。
- 同时、我的 H 桥仍将直接由18V 至36V 电池电压轨供电。
- 当电池电压超过 VCHP 时、此配置是否会限制完全驱动高侧 FET 的能力? 这会导致栅极驱动欠压或功能限制吗?
我是否应该始终从与 H 桥电源相同的电源轨为 PVDD 供电、以确保电荷泵正常运行和栅极驱动余量、或者只要 PVDD 保持在规格范围内、是否可以单独调节 PVDD?
提前感谢您的支持!
此致、
Dhaval
