This thread has been locked.

If you have a related question, please click the "Ask a related question" button in the top right corner. The newly created question will be automatically linked to this question.

[参考译文] MSP430FR2533:木材 B 问题"标识符"TB0CCR2"未定义"

Guru**** 2378650 points
Other Parts Discussed in Thread: MSP430FR2533, MSP430FR2355
请注意,本文内容源自机器翻译,可能存在语法或其它翻译错误,仅供参考。如需获取准确内容,请参阅链接中的英语原文或自行翻译。

https://e2e.ti.com/support/microcontrollers/msp-low-power-microcontrollers-group/msp430/f/msp-low-power-microcontroller-forum/1130939/msp430fr2533-timber-b-problem-identifier-tb0ccr2-is-undefined

器件型号:MSP430FR2533

那么、我将尝试在 MSP430FR2533上创建 PWM。 我的代码如下。 当我尝试编译代码时、  显示标识符"TB0CCR1"未定义"和标识符"TB0CCR2"未定义"错误。 已在线查看示例、但未看到任何内容。 已检查数据表、TB0CCR1和2是有效的寄存器名称。 我不知道发生了什么。 如果有任何帮助,将不胜感激。  

静态空 PWM1 (uint16_t PWMValue)

IF (PWMValue > MaxPWM)

PWMValue = MaxPWM;

TB0CCR1 = PWMValue;

静态空 PWM2 (uint16_t PWMValue)

IF (PWMValue > MaxPWM)

PWMValue = MaxPWM;

TB0CCR2 = PWMValue;

  • 请注意,本文内容源自机器翻译,可能存在语法或其它翻译错误,仅供参考。如需获取准确内容,请参阅链接中的英语原文或自行翻译。

    您好 Vikash、  

    由于看起来您使用的是 driverlib、您能否检查 driverlib 头文件是否包含在主代码中? 您还能检查 driverlib 文件夹本身是否位于您的工作区中、以用于此项目吗?  

    此致、  

    Henok

  • 请注意,本文内容源自机器翻译,可能存在语法或其它翻译错误,仅供参考。如需获取准确内容,请参阅链接中的英语原文或自行翻译。

    您好、问题仍然存在。 我以为它已经消失了。 但它不是。

  • 请注意,本文内容源自机器翻译,可能存在语法或其它翻译错误,仅供参考。如需获取准确内容,请参阅链接中的英语原文或自行翻译。

    您好 Vikash、  

    您能否共享项目工作区的屏幕截图?

    您还可以共享您的代码吗?

    此致、  

    Henok

  • 请注意,本文内容源自机器翻译,可能存在语法或其它翻译错误,仅供参考。如需获取准确内容,请参阅链接中的英语原文或自行翻译。

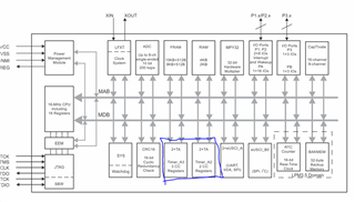
    假定您包含了 MSP430.h、TBX 符号未被定义的常见原因是这个特定的硬件不存在于所涉及的部件上。 我可以在数据表中找到四个计时器 A、但如果有一个计时器 B、我找不到它。

  • 请注意,本文内容源自机器翻译,可能存在语法或其它翻译错误,仅供参考。如需获取准确内容,请参阅链接中的英语原文或自行翻译。

    很好地抓住了 David、我相信你是对的。

    请查看方框图。

    可用于 MSP430FR2533的唯一定时器模块(不要与 MSP430FR2355混淆)是 Timer_A  

    此致、

    Henok