This thread has been locked.

If you have a related question, please click the "Ask a related question" button in the top right corner. The newly created question will be automatically linked to this question.

[参考译文] BQ77915:BQ7791514

Guru**** 2503635 points


请注意,本文内容源自机器翻译,可能存在语法或其它翻译错误,仅供参考。如需获取准确内容,请参阅链接中的英语原文或自行翻译。

https://e2e.ti.com/support/power-management-group/power-management/f/power-management-forum/1479062/bq77915-bq7791514

器件型号:BQ77915

工具与软件:

您好!

我们使用的是 BQ7791514双堆叠配置。

在充电条件下、电路在 NORMAL 模式下工作、即使电池和充电器之间的主 MCB 关闭、电池也会通过电芯电压检测引脚充电。

请支持解决 这个问题。

谢谢、此致、

Pooja

  • 请注意,本文内容源自机器翻译,可能存在语法或其它翻译错误,仅供参考。如需获取准确内容,请参阅链接中的英语原文或自行翻译。

    你好 Pooja

    我不是完全确定这里的问题是什么。 注意提供引脚上的测试条件和电压的详细信息?

    此致、

    Luis Hernandez Salomon

  • 请注意,本文内容源自机器翻译,可能存在语法或其它翻译错误,仅供参考。如需获取准确内容,请参阅链接中的英语原文或自行翻译。

    您好、Luis:

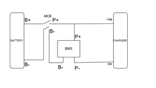
    请找到充电状态下 BMS 的接线连接、在这种情况下、即使 MCB 关闭、电池也会继续通过电压检测引脚(VC5)充电。

    谢谢、此致、

    Pooja

  • 请注意,本文内容源自机器翻译,可能存在语法或其它翻译错误,仅供参考。如需获取准确内容,请参阅链接中的英语原文或自行翻译。

    你好 Pooja

    这似乎不是有效的配置。 该部件通常位于电池侧。 它是一个电池组侧保护器、应始终与电池相连。

    此致、

    Luis Hernandez Salomon

  • 请注意,本文内容源自机器翻译,可能存在语法或其它翻译错误,仅供参考。如需获取准确内容,请参阅链接中的英语原文或自行翻译。

    您好、Luis:

    我已经将 BMS 与充电器或负载连接、如图所示。 但是、当以10A 电流进行充电或放电时、会流经 电池 B 侧 为-7A、而处于开启状态 电池组侧 是-10A、在上 电池 B+侧 、它是+10A。

    可以建议导致这种行为的原因是什么?

    谢谢。此致、

    Pooja

  • 请注意,本文内容源自机器翻译,可能存在语法或其它翻译错误,仅供参考。如需获取准确内容,请参阅链接中的英语原文或自行翻译。

    你好 Pooja

    您是否有原理图?

    这对我来说似乎没有道理。 电流输出应等于电流输入。

    此致、

    Luis Hernandez Salomon

  • 请注意,本文内容源自机器翻译,可能存在语法或其它翻译错误,仅供参考。如需获取准确内容,请参阅链接中的英语原文或自行翻译。

     尊敬的 Luis:

    请查看 BMS 的原理图。

    谢谢。此致、

    Pooja

  • 请注意,本文内容源自机器翻译,可能存在语法或其它翻译错误,仅供参考。如需获取准确内容,请参阅链接中的英语原文或自行翻译。

    你好 Pooja

    原理图看起来正常。 您是否已对电路板上的更多内容进行了调试?

    此致、

    Luis Hernandez Salomon