This thread has been locked.

If you have a related question, please click the "Ask a related question" button in the top right corner. The newly created question will be automatically linked to this question.

[参考译文] BQ2972:设计的最大充电和放电电流是否会随电池电压的变化而变化?

Guru**** 2526700 points
Other Parts Discussed in Thread: BQ2972

请注意,本文内容源自机器翻译,可能存在语法或其它翻译错误,仅供参考。如需获取准确内容,请参阅链接中的英语原文或自行翻译。

https://e2e.ti.com/support/power-management-group/power-management/f/power-management-forum/1126335/bq2972-will-the-designed-max-charge-and-discharge-current-change-as-the-battery-voltage-changes

器件型号:BQ2972

早上好、

我看到 BQ2972器件利用了两个外部 FET 的 RDS (on)。 这些 FET 的 RDS (on)将取决于 FET 上的 Vgs。 从数据表中可以看出、随着 BAT 的增加/减少、FET 高电平输出似乎不会保持恒定:

我对此有什么问题吗? 如果 FET 高电平输出不保持恒定、RDS (ON)是否不会随着电池电压的变化而变化、从而与设计的最大充电和放电电流不符? 感谢你能抽出时间。

  • 请注意,本文内容源自机器翻译,可能存在语法或其它翻译错误,仅供参考。如需获取准确内容,请参阅链接中的英语原文或自行翻译。

    嗨、Marcelo、

    正确、高输出与 BAT 电压直接相关。 您将需要选择具有低 RDS (on)和低 Vgs (th)的 FET、以最大程度地减小较低 BAT 电压的影响。

    谢谢、
    Caleb

  • 请注意,本文内容源自机器翻译,可能存在语法或其它翻译错误,仅供参考。如需获取准确内容,请参阅链接中的英语原文或自行翻译。

    感谢您的快速回复!  

    您是否认为最好在  DSG 和 CHG FET 之间使用电流感应:

    (目前 R5为0r、但我计划添加不同值的电阻器来查看效果)、以便电流感应电阻器和 FET 的组合电阻决定最大充电/放电电流。 如果 FET 相对于  电流感应电阻器具有较小的 RDS (on)、则 FET 导致的最大电流变化应减小。 你怎么看?

  • 请注意,本文内容源自机器翻译,可能存在语法或其它翻译错误,仅供参考。如需获取准确内容,请参阅链接中的英语原文或自行翻译。

    嗨、Marcelo、

    我不确定如何将 V-感应引脚连接到所附屏幕截图中的感应电阻器、因为该器件的典型应用要求感应电阻器与 V-引脚串联。 感应电阻器也必须为2.2k 欧姆。

    谢谢、
    Caleb

  • 请注意,本文内容源自机器翻译,可能存在语法或其它翻译错误,仅供参考。如需获取准确内容,请参阅链接中的英语原文或自行翻译。

    您好 Caleb、

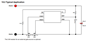
    我将2.2k Ω 电阻连接到应该连接的位置。 但是、数据表中并未指示2.2k Ω 电阻器决定最大充电/放电电流。 从10.2节开始:

    两个 FET 上的压降似乎用于确定电流限制。 如果我要在两个 FET 之间放置一个已知电阻、如我上一幅图片中的原理图所示、那么这是否不能用于更可靠地设置电流限制?

    谢谢、

    Marcelo

  • 请注意,本文内容源自机器翻译,可能存在语法或其它翻译错误,仅供参考。如需获取准确内容,请参阅链接中的英语原文或自行翻译。

    嗨、Marcelo、  

    似乎我对该器件的运行错误了。 您可以正确地看到、FET 上的压降决定了电流限制。  是的、如果需要、您可以在路径中添加一个电阻来调整过放电/过充电电流。  

    谢谢、
    Caleb