请注意,本文内容源自机器翻译,可能存在语法或其它翻译错误,仅供参考。如需获取准确内容,请参阅链接中的英语原文或自行翻译。
器件型号:AM62P5-Q1 工具与软件:
团队、
是否可以在 OLDI 上输出4K 显示流并将输出克隆到 DSI? 以便两个显示输出显示相同的内容。
在开发过程中、需要将其作为调试输出的种类、而不是用于系列生产。
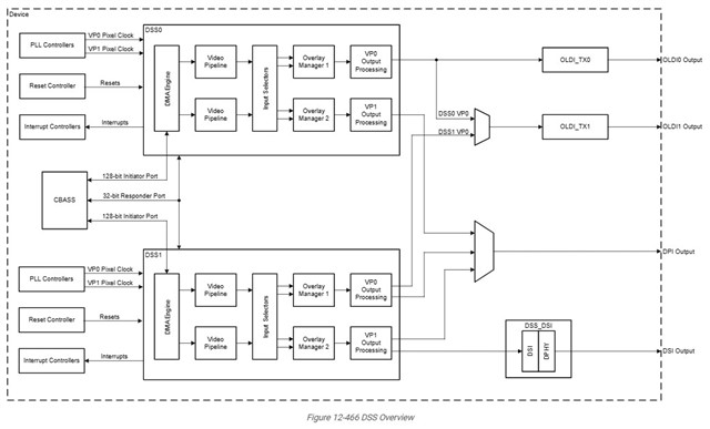
从 TRM 中的方框图可以看出、似乎无法克隆输出。 OLDI 和 DSI 来自不同的 DSS。 您必须在两个 DSS 上运行相同的视频 PIPLELINE 和重叠处理、这将增加所需的内存带宽。 这种理解是否正确、或者是否有一种克隆输出的简单方法?

谢谢!
Robert