Other Parts Discussed in Thread: SYSCONFIG
参考手册中,PWM可以生成下面左图中的波形,请问是否可以生成下面右图中的波形?
如果可以,请问PWM改如何配置?

This thread has been locked.
If you have a related question, please click the "Ask a related question" button in the top right corner. The newly created question will be automatically linked to this question.
参考手册中,PWM可以生成下面左图中的波形,请问是否可以生成下面右图中的波形?
如果可以,请问PWM改如何配置?

是的,这应该是可能的。您可以参考C2000软件示例“epwm_ex8_deadband”以获取相同信息。它显示了此处在单个ePWM 1至ePWM6上展示的所有模式。您可以编辑.sysconfig以更改死区中的值/配置。

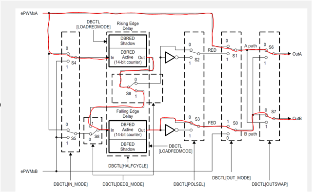
您可以通过将RED和FED应用于单个PWM通道来实现这一点。基本上,您将RED应用于通道A,并将RED块的输出路由到FED块的输入。这将在DBA输出上为您提供AQA输出,在DBB输出上为AQA输出的RED/FED版本。您可以使用SYSCONFIG工具配置此方案。请参考下图了解拟议方案:
