我在使用TM4C123G launchpad的时候,想使用ADC内部的数字比较器的功能,我设置比较器为中值带模式,现在实验结果是能正常的触发比较器中断,但是我想在这个中断中读取ADC的采样值,但是ROM_ADCSequenceDataGet函数返回的一直是0,是不是TIVA数字比较器不能这样操作,只能进行比较判断。
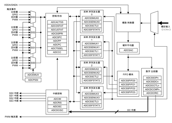
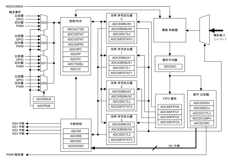
看这副ADC的结构图,数据同时传进了比较器与FIFO,所以我自己猜测应该是可以取到这个值的,有没有做过的高手指点一下,实在不行的话我只能再把ADC切回采样模式,重新采一次值这样来回切换了。
