If you have a related question, please click the "Ask a related question" button in the top right corner. The newly created question will be automatically linked to this question.
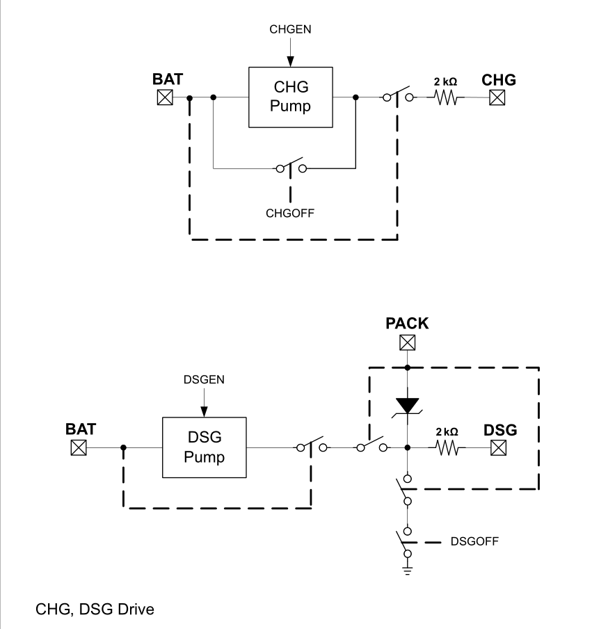
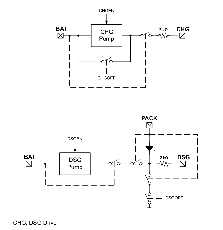
the chg and dsg pin are driven by a chg pump that will maintain the drive at 10V greater than the PACK voltage to provide FET turn on.At >3.1V, power input switches from VCC to BAT for the gauge.
请参考数据手册6.18 Electrical Characteristics: CHG, DSG FET Drive
6.6 Electrical Characteristics: Power Supply Control www.ti.com.cn/.../bq4050.pdf