This thread has been locked.

If you have a related question, please click the "Ask a related question" button in the top right corner. The newly created question will be automatically linked to this question.

TPS5430: 环路分析

Part Number: TPS5430


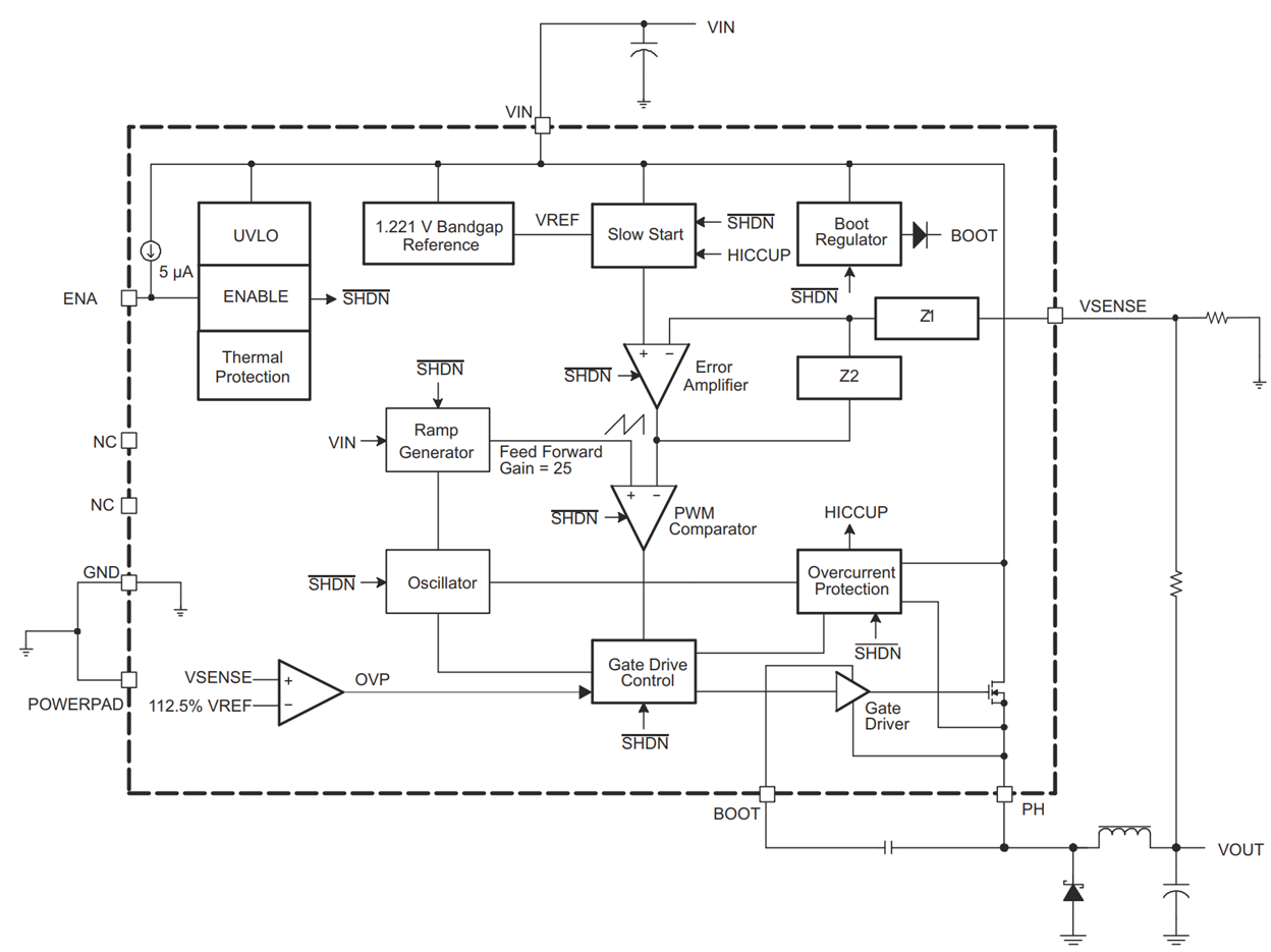
求问如何理解数据手册里Functional Block Diagram内的Feed Forward Gain = 25?在Ramp generator和PWM comparator之间标注了这个,不太理解是什么意思。

因为想做环路分析,除已知补偿网络传递函数、LC滤波传递函数,输入电压以外,还需要找到关于PWM generator的传递函数来表示整个环路的传递函数;假设上级Error amplifier输出的(PWM比较器输入)是duty cycle demand d*,PWM比较器输出的是占空比为d的PWM波,请问d*与d之间的关系表达式是什么?与Feed Forward Gain = 25有什么关系?

看手册里解释说是Ramp波的Vpp会根据Vin变化,Ramp Vpp = Vin / Feed forward gain,那d*与d的关系是不是可以表示为下图的函数(VA=0, VB=12/25, dMAX=87%)?谢谢