请问这个界面有两个模式,分别是patternsequence和videomode,我发现切换这两个模式后,两者输出的光强大小不一样(很明显)?两者区别在哪里?是不是两者控制DMD的刷新率不一样?我没有用自带的LED光源,而是接的自己的激光器。
This thread has been locked.
If you have a related question, please click the "Ask a related question" button in the top right corner. The newly created question will be automatically linked to this question.
请问这个界面有两个模式,分别是patternsequence和videomode,我发现切换这两个模式后,两者输出的光强大小不一样(很明显)?两者区别在哪里?是不是两者控制DMD的刷新率不一样?我没有用自带的LED光源,而是接的自己的激光器。
您好!
感谢您使用TI的DLP产品。
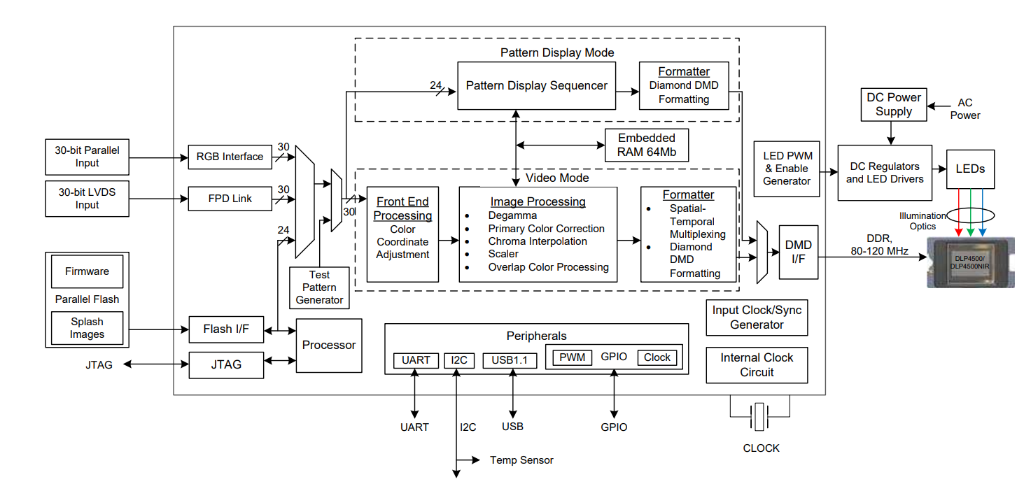
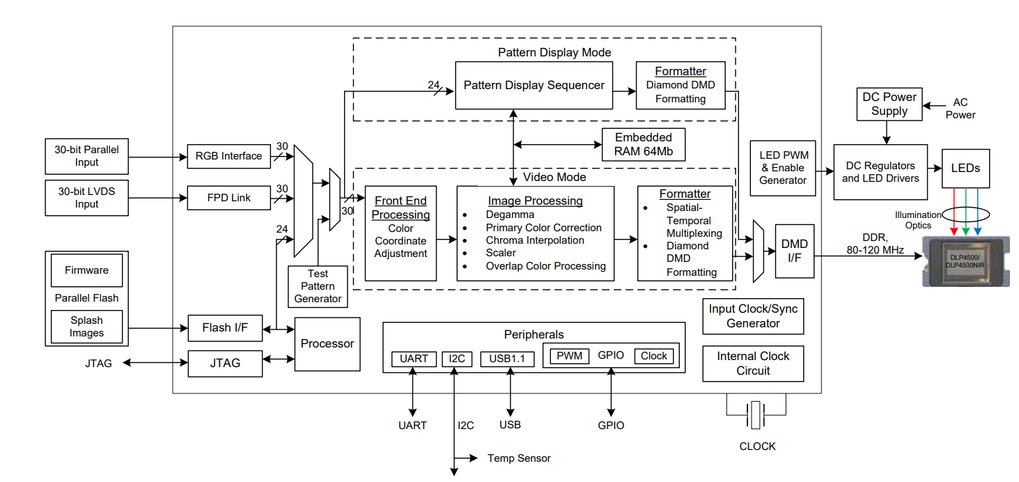
video mode和pattern sequence模式是两种不同的工作模式。
在video mode下:
LED Enable信号是由颜色序列的顺序来设置的,同时RGB LED信号是分时使能的。LED电流计算公式如下:
Red LED Current (A) = 0.0175 × (LED Current Value) + 0.4495
Green LED Current (A) = 0.0181 × (LED Current Value) + 0.3587
Blue LED Current (A) = 0.0160 × (LED Current Value) + 0.1529
默认的LED电流是Red = 104 • Green = 135 • Blue = 130
在Pattern sequence模式下:
LED Enable信号是由设置的pattern sequence的颜色来使能的,可同时使能多于1个LED(比如白色),且默认最大的LED current。
另外LED的电流可以选择自动和手动配置的方式:
请参考文档:


希望这个回答可以帮助到您。
您好!
请问你的激光光源是怎么和EVM连接的?使用了几个通道?用了什么颜色的通道?
不是很明白提到的根据PWM来刷新的是什么意思。
Pattern的帧率是与您配置的曝光时间有关的,请提供pattern sequence的配置。