Thread 中讨论的其他器件:controlSUITE
工具与软件:
尊敬的工程师:
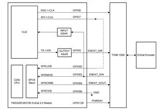
我打算使用 controlSUITE\development_kits\BOOSTXL_POSMGR 中的 Endat 例程、通过 CLB 实现 Endat 通信。
ENDT_DIR 是否同时控制 BOOSTXL_POSMGR 中的数据和 CLK RS485的方向? 或者、由于 CLK 仅用于发送、因此 CLK 的 RS485方向信号保持在高电平、ENDT_DIR 仅控制 RS485数据的发送方向?

2.我没有在例程中看到用于初始化和配置 SPI 的程序。 是否全部封装在 PM_endat22_setupPeriph()函数中? 如果是、如果需要使用 SPIA、应如何修改它? 我是否可以简单地修改 endat22Data.spi = SpiaRegs (&S)?
3.我的28p65项目需要同时支持 tformat 和 Endat22。 如果我在选择其中一个编码器时初始化相应的协议、然后在切换到另一个编码器时再次初始化相应的协议、这可行吗?
例程中既没有 a.syscfg 文件、也没有 board.c 文件。 所有相关设置都应封装在库中。 我如何进行修改、以使硬件触发 CLB 以发送 Endat 命令?
5.我尝试进行程序移植。 但是、由于 CLB 的特定配置内容全部封装在库中、并且文件 f28p65x/headers/source/f28p65x_globalvariabledefs.c 已存在于我的工程中、无法删除。 因此,当我使用 PM_endat22_setupPeriph()函数时,会出现以下错误。在这种情况下,如何修改它才能实现完整的功能移植和实施?

此致、
林浩南