请注意,本文内容源自机器翻译,可能存在语法或其它翻译错误,仅供参考。如需获取准确内容,请参阅链接中的英语原文或自行翻译。
器件型号:TMS320F28035 工具与软件:
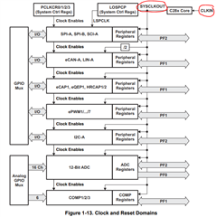
PLL 的输入信号来自内部振荡器、外部时钟或称为 OSCCLK 的晶体吗?
PLL 生成的时钟是 CPU 和 CLA 的执行时钟? 这是 SYSCLKOUT 吗?
使用60MHz 晶体、我可以生成720MHz 时钟。 是这样吗?
感谢您的解释。
Enzo
This thread has been locked.
If you have a related question, please click the "Ask a related question" button in the top right corner. The newly created question will be automatically linked to this question.
工具与软件:
PLL 的输入信号来自内部振荡器、外部时钟或称为 OSCCLK 的晶体吗?
PLL 生成的时钟是 CPU 和 CLA 的执行时钟? 这是 SYSCLKOUT 吗?
使用60MHz 晶体、我可以生成720MHz 时钟。 是这样吗?
感谢您的解释。
Enzo
尊敬的 Enzo:
我强烈建议您查看技术参考手册中"系统控制"一章的"时钟"一节。
1) 

PLL 输入时钟由 OSCCLKSRCSEL 选择
2) 2) PLL 的是输出(CLKIN)被馈送到 CPU。

3) 3)不可以、不能产生任何选择的时钟频率、需要遵守数据表中提到的限制。
[quote userid="88299" url="~/support/microcontrollers/c2000-microcontrollers-group/c2000/f/c2000-microcontrollers-forum/1378069/tms320f28035-tms320f28035-clock 通过60MHz 晶振,我可以产生一个720MHz 时钟。 正确吗?
谢谢!