工具与软件:
您好、先生、
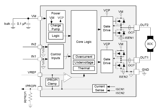
存在 Drv8251a 输出电压问题、
黄色 和绿色线是 PWM 输出、
不是正常的 方波、
这是正常的吗?
This thread has been locked.
If you have a related question, please click the "Ask a related question" button in the top right corner. The newly created question will be automatically linked to this question.
您好!
是的、请参阅数据表8.4.2中的电流调节部分。 这里也有一些很好的相关资源:
您能否捕获一次电流波形并检查配置了什么?
此致!
Keerthi