工具/软件:
你好、团队。
我对 AM62Px 的引脚连接有两个问题。
您能回答以下问题吗?
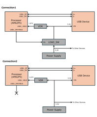
如果 USB 设备需要 其他 电压电源、是否可以通过 VDR (分压电阻)将电压介于5V 和 VBUS 之间的电源连接?
根据 TRM、USBn_VBUS 引脚必须通过 VDR 连接到 VBUS、因为该引脚不可耐受5V 电压。
另一方面、我们的系统使用 USB1作为主机模式、并连接到 USB 器件。
该器件不需要5V (VBUS)电源、可由3.3V 单电源供电。 (请参阅随附的图。)
2.哪一个是正确的连接、"Connection1"或"Connection2"? (请参阅随附的图。)
连接的 USB 器件的电源是否应由 DRVVBUS 控制?

