This thread has been locked.

If you have a related question, please click the "Ask a related question" button in the top right corner. The newly created question will be automatically linked to this question.

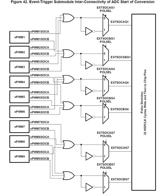
请问28335的ADCSOC输出极性是否可以控制?



默认输出是反极性(低有效),想改成高有效,因为外接的ADC是高有效的,看到下面图好像可以改,但是没有看到哪里有详细说明!

谢谢各位!