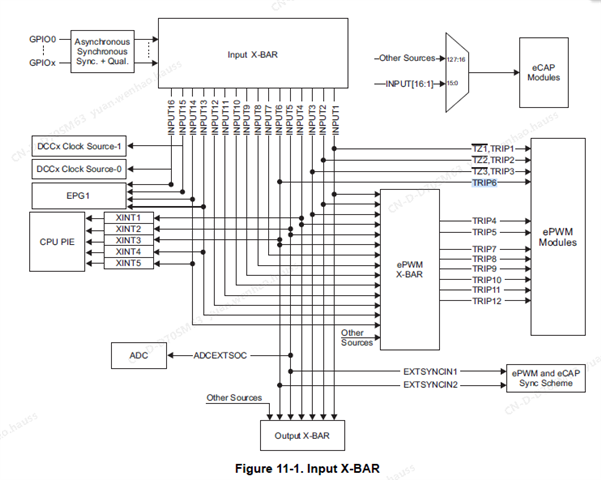
GPIO口通过Input X-BAR连接到epwm去触发DC模块执行OST封波功能,通过配置如下:
InputXbarRegs.INPUT6SELECT = 0x1C;GPIO12
EPwm1Regs.DCTRIPSEL.bit.DCBLCOMPSEL = DC_TRIPIN6;
一直是封波状态.
当GPIO12配置成TRIP10
InputXbarRegs.INPUT10SELECT = 0x1C;GPIO12;
EPwmXbarRegs.TRIP10MUX16TO31CFG.bit.MUX23 = 1; //INPUT10
EPwmXbarRegs.TRIP10MUXENABLE.bit.MUX23 = 1;
EPwm1Regs.DCTRIPSEL.bit.DCBLCOMPSEL = DC_TRIPIN10;
可以实现GPIO电平实现epwm OST功能.
如图:TRIP6是不是还需要什么其他的配置.
