This thread has been locked.

If you have a related question, please click the "Ask a related question" button in the top right corner. The newly created question will be automatically linked to this question.

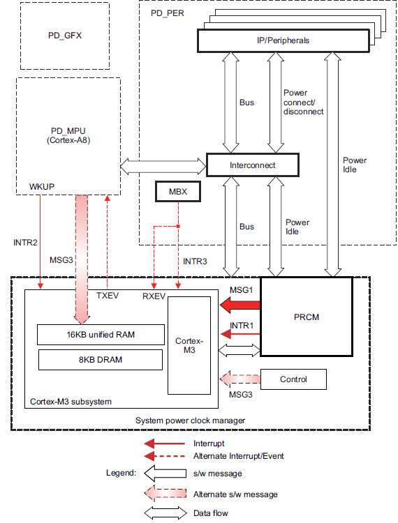
am335x内部m3是否可另作他用



我看到335x的PRCM里有提到一个M3核,启动时firmware也会load进去

我现在想在335x这个cpu上做一些实时控制任务,想用这个M3来实现

但我发现这个m3不在系统interconnect里,与A8核只有几个寄存器可以交互数据,是不是这个核实专门做wkup用的,其他地方都不能用?